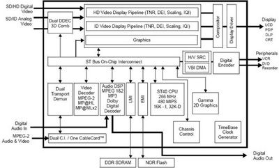
作者:特约撰稿人 Owen(台湾) 数字电视可说是手机之外的另一波杀手级应用,它以客厅为核心,不断地整合家庭中的其它视听及信息设备,形成多元应用的家庭网络;不仅如此,数字电视与手机也向整合之路发展,移动电视(MobileTV)已在全球各地如火如荼的推动当中。 当电视广播系统与网络、甚至是移动蜂窝系统结合时,包括视频、语音与数据的服务自然走向多元汇流的趋势,这是一个比过去独立形式复杂许多的应用环境,而数字机上盒(Set-top-box)正位于此架构的核心位置,其面临的设计挑战确实繁重。 根据电视节目发送管道的不同,数字机顶盒又可分为数字地面(Terrestrial)机顶盒、数字卫星(Satellite)机顶盒、数字有线(Cable)机顶盒,以及通过网络(xDSL、CableModem、光纤)的IP机顶盒等形式。整体而言,数字机顶盒的技术主轴朝向支持HDTV(HighDefinition TV)及互动性(Interactive)发展,但不同市场区块仍有技术及应用上的偏重。为了达到产品的差异化定位,加入硬盘的数字视频录像机(DVR)及整合家庭网络功能的家庭网络网关器(Residential Gateway, RG),也是数字机顶盒的重要设计方向。 系统架构 一个数字机顶盒是由软、硬件所组成,在硬件方面的主要单元可分为接收广播信号,并将其转换为数字传输串流的前端(front-end,FE)芯片,即谐调器(tuner)和调节/解调器(modulator/demodulator);后端芯片包括电视解码器/编码器(NTSC/PALdecoder/encoder)、MPEG-2Transport、MPEG-2 MP@ML或HL解码器、微处理器、图形芯片、音频处理器、音频DAC、视频DAC;以及DRAM/SDRAM、Flash等内存、电源组件及其它标准离散组件。更高级产品还会整合安全芯片、调制解调器(modem)或家庭网络芯片,以及可录像的硬盘(HDD)。(图1)为支持DVR功能的机顶盒解码芯片方块图。 图1 具有DVR功能的机顶盒解码器方块图(以STx5100为例) 资料来源:ST 更强大及多元的功能及更高的整合度是数字机顶盒在硬件部分的发展趋势。在功能上,电视解码器强调要能做到dual-TV和dual-DVR,也就是除了能解码并显示数字和模拟两种电视广播信号外,还要能解码两个同步标准解析电视频号,再送到多台不同的电视机播放,或录制节目到硬盘中。此外还有所谓的PAP(高解析双画面)和PIP(子母画面)功能,能够在同一个屏幕上显示两个不同的高解析电视画面,可以分别并列或上下排列。 在整合性上,为了保持设计弹性,一般在系统中前端及后端芯片是分离的配置,但也能将两者整合为单一封装,进而为大量生产的应用提供更佳的成本效益。芯片本身则朝SoC的方向发展,尤其是位居核心的解码器芯片,此类芯片会采用90纳米等高级制程,在一颗芯片上整合各种主要功能,包括高性能的CPU、视频解码电路和各种外围设备,请参考(图2)。 图2 机顶盒单芯片iDTV处理器硬件架构方块图(以STD2000为例) 资料来源:ST 在软件部分则包括操作系统和实时操作系统(RTOS)、提供互动功能的MHP等中介软件(Middleware)及应用程序接口(API),以及电子节目表(EPG)等应用软件或条件式接取(ConditionalAccess,CA)安全功能。接口上则需要支持安全性模块(POD module)、共同接口(CI)、智能卡(smart card/reader)、高速界面(USB、IEEE 1394及序列ATA)等。CA、CI、POD等技术难度较高,也是设备商在选用视频处理芯片解决方案后,仍需进一步整合开发的议题。 设计关键:视频转换处理 视频转换处理无疑是机顶盒最主要的功能,因此编码/解码器(CODEC)犹如机顶盒的心脏。目前电视广播界仍以MPEG-2为基本视频压缩规格,但已积极转向MPEG-4、H.264/AVC(即MPEG-4Part10)及VC-1等新一代编解码规格。采用新的规格对业者来说具有许多好处,最明显的例子在于他们能通过有限的频宽传送更多的节目频道,或提供高画质的电视节目。 以MPEG-2和H.264来比较,在传输HDTV内容时,前者需要20Mbps频宽,后者只需8Mbps频宽就能提供相同的画质,两者差了2.5至3倍。除了频宽的考虑外,采用新的视频压缩规格也能带来其它的优势,例如在具备节目录制PVR/DVR功能的机顶盒中,更大的压缩比意味着能储存更多的容量;此外,新的规格也提供了对象导向的互动功能,以及子母分割画面等加值功能。 目前市场上并未明确的往特定的新一代规格靠拢,处在这个过渡期中,机顶盒只得同时支持多种规格。MPEG-4虽然问世较久,也有不少厂商大力支持,但它先天上存在着一些难以克服的瓶颈,让它在推展上显着举步维艰。 MPEG-4最大的问题在于规格过于庞杂,视频只是MPEG-4定义中的一个部分(lS014496-2MPEG-4Part2)。这种庞杂性就产生各部分兼容性的定问题:有些内容不够清楚,或不够开放;有些做了折衷处理,反而造成互操作性的难题。举例来说,由于MPEG-4允许自订输出规格,因此造成各种规格并存的现象,例如较知名的Divx规格及微软的wmv规格,但过多规格也让服务业者望之却步。另一个令人诟病的原因,则在于要取得MPEG-4的商用取可证旷日废时,而且得负担高昂的使用费用。 相较之下,H.264虽然也是一个复杂的标准,但它只针对视频做制定,也已获得MPEG/lS0和ITU两大国际标准组织的支持,加上它是当前能提供最佳视频压缩效能的规格,也不存在使用费的问题,所以自2003年标准推出后,即对HDTV、HD-DVD、手机及视频串流等业者产生莫大的吸引力。不仅如此,H.264在制定时即考虑了与MPEG-2既有系统的通用性问题,因此,在今日的基础建设中就能将H.264嵌入MPEG-2传送流(TS)中发送出去。H.264的应用情况与取样速率请参考(表1)。 不过,在提升压缩效能的同时,H.264也存在编码计算复杂度大增的问题,因此需要消耗更大的运算资源。在此情况下,机顶盒必须采用更高效能的处理器,或以专属的CODEC加速器硬件来完成任务。此外,高质量、低复杂性算法对于H.264的编解码也有很大的帮助,以ST来说,就已提出运动估算与速率控制算法,以及用于H.264解码的错误检测与隐藏算法,能让解码器承担并隐藏数据封包损失,在无线封包网络上实现IP网络的最佳效能。 视频编码转换(Transcoding) 身为数字家庭网络核心位置的机顶盒,除了提供电视节目的视频转换播放之外,目前也成为家庭中如DVD、PMP、数字相机等各种不同设备的互连中心。为了让视频内容能在不同设备间进行播放及存取,机顶盒还得具有视频编码转换的能力,也就是调整位位速率以符合特殊的信道速率或储存格式;或是用来改变分辨率,如将高分辨率(HD)视频串流传送给标准分辨率(SD)电视,或是在CIF移动终端上显示SD视频等。 图3 DBSMPEG-2转H.264编码转换技术 资料来源:STJournalofResearch- Vol 2, No. 1 ST先进系统技术(AST)小组所开发的动态位串流规划(DynamicBitstreamShaper,DBS)技术,即采取最佳化的算法来支持MPEG-2与H.264之间的位速率、讯框速率、讯框大小与编码标准变化。它的开发目的在于降低视频编码转换的架构复杂性、运算耗能、内存需求,以及运算延迟等,让视频内容不需经过再编码(re-encoding)而能获得相同或更佳的质量。 设计关键:数字内容管理技术 进入数字内容的时代,复制盗版的难度大减,这也成了电视服务业者迈向数字电视或IPTV时最关心的问题之一,负责接收转换数字内容的机顶盒,自然就被赋与了版权管控的任务。目前对于数字电视内容管理的技术作法不少,其中以条件式接取(CA)和数字版权管理(DRM)被视为基本的保护机制,新兴的标准中较受重视的是安全视频处理器联盟(SecureVideoProcessorAlliance, SVPA)推出的SVP标准。以下将分别进行探讨: 条件式接取(CA) CA是系统服务业者经营数字电视业务的一项关键性机制,它能为广播式网络提供“寻址化管理”(Addressability),其关注的重点是电视频道与用户的权限。用户需通过专属机顶盒或智慧卡来取得授权,才能解开扰码(Scrambling)。除了加解扰外,CA也能接收控制用户的管理信息,包括用户名称、地址、智能卡号、账单等等,并搭配后端客户管理及收费系统来提供更个人化的增值服务。 由于CA得处理复杂的加解扰等演算问题,是机顶盒制造商较难跨越的一道门坎,也是掌握此技术公司的极大优势。过去CA往往与特定的系统设计公司的专属机顶盒绑在一起,用户一旦要换系统,就得连机顶盒一同更换。这种情况除了造成系统公司与用户的困扰外,也让机顶盒因通用性低而受到局限,因此相关的组织或政府政策上都致力于推动CA从机顶盒中独立出来的机卡分离作法。 以DVB来说,系统原先只就CA做了共同扰码(DVBCommonScrambling)的定义,操作(Operation)及管理(Management)则开放让系统设计公司可以自行开发。目前DVB已针对局端与客户端分别提出了同步加密(Simulcrypt) 与多重解密 (Multicrypt) 的方案,以解决互通操作上的问题。 此外,美国、欧洲及亚洲多国都已将机卡分离视为电视产业发展的既定政策。目前将CAM(CA模块)独立设计的作法有三种,分别是采PCMCIA、USB或智能卡的方式,其中又以PCMCIA为市场主流,包括美国的POD标准及欧洲的DVB-C标准,都以PCMCIA为其基本的物理接口。 DRM CA的寻址化功能虽能对频道及用户做收视控管,但对于个别节目的内容保护与授权就力有未逮,在此情况下,有必要进一步采用DRM机制来提供内容管理。这两者是相辅相成的,CA是系统业者的收视管理及营运工具,而DRM则是内容发行商的自我保护机制。 DRM采取的是许可证管理(LicenseManagement)策略,也就是由数字内容发行商对原始档进行加密(一般采用128位或156位对称算法),同时在添加的标头中加入作者、版本号、发行日期等版权信息。当用户想通过网络或直接从光盘中取得内容时,系统会自动检查有没有相应的许可证(LICENSE),认证的方式包括插入IC卡、IKEY(一种USB接口的身份认证令牌),或经由网络认证服务器来认证其账号、密码。 整个DRM的建置架构共分为3 层:使用者接口应用软件、DRM 用户认证子系统,以及最基本的加密引擎。其中用户认证子系统是IPTV业务推行的关键,目前有许多认证系统,两种较典型的IPTV DRM系统分别采用Kerberos和PKI认证机制。 此外,就DRM的规格来说,目前市场上的规格相当分歧,最受重视的无疑是WindowsMedia的DRM及开放移动联盟OMA推出的DRM1.0/2.0规格,但仍有包括UT-DRM、NDS、SecureMedia、WideVine、BesDRM等规格并存。为了让用户能收看不同来源的视频内容,今日的机顶盒只得尽量支持市场上的DRM规格。 图4 不同DRM规格的互通问题 资料来源:Coral联盟 DRM保护内容的立意虽好,但规格林立反而造成市场发展的阻碍,请参考(图4)。为了使各种DRM规格能够互通,包括惠普、飞利浦电子、ST、三星电子、索尼和20世纪福克斯电影公司等40个公司组成了Coral联盟,即致力于为基于WEB和家庭网络的设备安全传送内容提供互操作性。目前该组织已公布一种互操作层,能支持多种DRM方案,其架构请参考(图5),不过,微软及Apple两大公司的规格仍是例外。 图5 Coral联盟提出的DRM互操作层节点作法 资料来源:Coral联盟 安全视频处理器(SVP) SVP标准主要由SVP联盟推广,目前已获得20多家主要媒体与技术厂商支持,ST是该标准的发起会员之一。SVP联盟的主要工作是在数字家庭网络,以及数字电视、机顶盒、DVR、可携式媒体播放器等消费性电子应用中推广其SVP内容保护技术。 SVP能与CA及DRM形成互补的机制,为数字内容提供更完善的保护管理。通过SVP技术,媒体公司可以自行设置其DRM规范来对其作品内容加以保护,并将来自CA系统的规则映像到SVP格式之中,最后再通过支持SVP功能的个人录像机、DVD录像机或PMP等设备解密还原为原始内容呈现给观众。 基本上,SVP技术是一种以硬件为基础的安全方案,提供加密、传输和接收内容及关于如何通过安全信道使用内容的规则。其硬件核心只需不到20万门电路闸,并在其上运行一个安全软件堆栈。这可以说是一种低成本、适合未来应用的解决方案,因此ST的数字视频处理器及解码器已普遍支持SVP标准。 结语 为了应对市场的变化,数字机顶盒必须具备提供产品开发的便利性及升级上的弹性,这包括设备开发层面及终端用户的使用层面。在开发层面,目前关键零组件的厂商会提供完善的设计参考平台,让设备商能够加速开发时程,而且能在既有的设计基础上,弹性地加入新的功能以推出差异化或升级的产品。在终端部分,机顶盒也需具有软件升级的功能,也就是只需通过远程网络的下载更新,就能升级其软件或韧体。 由于数字机顶盒是一个集合各种功能于一身的Hub,加上这一市场上的技术、标准与应用需求变化极快,要想推出满足各方需求且使用寿命长的通用型机顶盒,是一件很不容易的事。除了上述的视频转换处理及内容管理的设计关键外,在数字卫星、地面及有线电视的服务上,信号回传的互动性是整体系统上的重要瓶颈;在IPTV的部分,虽以互动性见长,但如何保证串流视频的服务质量(QoS),并能提供HDTV的服务,也是很大的挑战。当然,还有更多的挑战及商机摆在眼前,例如数字电视与有线/移动电话的整合等,是值得我们不断去投入观察的。




文章来源于领测软件测试网 https://www.ltesting.net/
版权所有(C) 2003-2010 TestAge(领测软件测试网)|领测国际科技(北京)有限公司|软件测试工程师培训网 All Rights Reserved
北京市海淀区中关村南大街9号北京理工科技大厦1402室 京ICP备10010545号-5
技术支持和业务联系:info@testage.com.cn 电话:010-51297073










